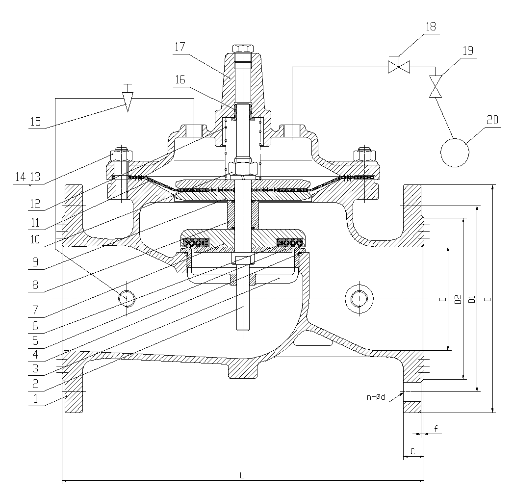
當管道從閥門的進水端給水時,由于針型閥、球閥和浮球閥是常開的,所以通過針型閥的水進入閥蓋控制室后,又經球閥和浮球閥流進水箱,控制室內不能形成壓力,則進入閥瓣下面的入口壓力將閥瓣托起,打開閥瓣向水箱內大量供水。
當水池或水塔內的水位逐漸升高,浮球浮起后把小浮球閥關閉時,閥蓋控制室內的水便逐漸增加壓力直至把閥瓣關閉,此時便起到了自動遙控的作用。當水位下降至一定程度,浮球隨水面下降浮球閥被打開,控制室內的水流走,壓力下降而把閥瓣托起,及時向水池或水塔補充儲水。



版權所有:博納斯威閥門股份有限公司 地 址:天津市寶坻區九園工業園5號路
版權所有:博納斯威閥門股份有限公司
地 址:天津市寶坻區九園工業園5號路